吸塑包装作为广泛应用于食品、医药、电子产品、化妆品等多个领域的包装形式,其质量直接关联人身健康、产品及市场秩序,因此市场监管部门会定期、不定期对其开展监督抽查,既是履行监管职责的必要举措,也是保障行业健康发展的关键手段。
监督抽查不是“为难”企业,而是通过刚性监管,实现“保护消费者、规范企业、净化行业”的多重价值,其重要性体现在四个方面,兼具民生意义和行业价值:
其一,保障消费者合法权益,守住底线。这是抽查最核心的意义,通过对吸塑产品的关键指标进行检测,及时排查不合格产品,禁止其流入市场,能有效避免消费者因使用不合格吸塑包装而遭受健康损害或财产损失。无论是食品包装的合规,还是电子产品包装的防护达标,都能通过抽查得到保障,让消费者买得放心、用得安心。
其二,倒逼企业提升质量,强化责任意识。抽查相当于对企业的质量管控进行“体检”,不仅检测当批产品,更会检验企业的原材料管控、工艺标准化、质量内控等全流程体系。高频次、严标准的抽查,能促使企业摒弃侥幸心理,主动完善质量管理制度,严格按照国家及行业标准生产,从源头提升产品质量稳定性。像上海广舟包装这样,连续九年抽查全合格、抽查频率高于行业平均水平的企业,也正是在监管倒逼下,成为行业“质量标杆”。
其三,规范行业秩序,营造公平竞争环境。抽查能打击假冒伪劣、违规生产的企业,淘汰质量不达标的产能,避免“劣币驱逐良币”的现象。通过将抽查结果公开公示,纳入企业信用体系,既能让合规经营的企业获得市场认可,也能对违规企业形成震慑,推动整个吸塑行业向标准化、规范化方向发展,提升行业整体质量水平。
其四,落实政策要求,推动行业绿色高质量发展。抽查不仅关注产品指标,也会核查企业对环保政策的落实情况,比如是否违规使用不可降解材料、是否符合可回收、可降解相关标准。通过监管引导,能推动企业优化原材料选择和生产工艺,加快绿色包装转型,助力“双碳”目标实现和塑料污染治理,实现行业经济效益与环境效益的双赢。




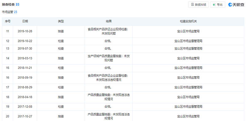
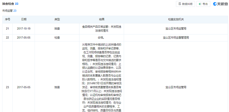
在吸塑包装制品行业,要是能经常被市场监管部门抽查,反而是件好事——这说明企业的质量要求更高,也更有责任感。上海广舟包装制品有限公司,就是这样一家让人放心的企业。从2017年开始,整整九年时间里,它每年都会接受上海市宝山区市场监督管理局的吸塑包装产品监督检查,每一次的结果都是合格,到现在已经累计拿到了23份合格质量报告,这些记录在天眼查等平台上都能查到,公开又透明。
更让人佩服的是,被抽查的频率,比行业里大多数企业都要高。在“双随机、一公开”的监管模式下,它的吸塑产品还经历了4次随机抽查,依然保持着的合格率。要知道,一般企业每年被抽查同类产品,频率也就一次,而广舟包装常常一年内会被抽检好几次。这背后的原因很简单,就是它的产品质量一直很稳定、很优良,近乎百分之百的合格率,让它成了监管部门眼里的“质量标杆”,值得一次次去验证。
其实,高频次的检查,恰恰能证明企业的质量一直很稳定。每一次抽查,不只是检查当批次的产品好不好,更是对企业整个质量体系、生产流程的一致性,还有管理规范的检验。能在九年时间里,经过二十多次不同形式的监督检查,从来没有出现过不合格的情况,这足以说明其在原材料把控、生产工艺标准化、内部质量管控等方面,做得都非常扎实。
